Těsnění pro vákuum
Kód zboží: Bauform 880-V
Výrobce: NORIS Armaturen Burkenstein GmbH
Těsnění pro vákuum
Kód zboží: Bauform 880-V
Výrobce: NORIS Armaturen Burkenstein GmbH
Těsnění pro vákuum
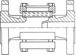
Popis produktu
| Připojení | Přírubové |
|---|---|
| PN | 16 |
| Teplota MAX | 280 °C |
| Médium | kapaliny (agresivní) , kapaliny (neutrální) , plyny (neutrální) , vzduch , plyny (agresivní) , výpary (neutrální) , výpary (agresivní) , pára , kapaliny pro solární systémy |
| DN | 15 , 20 , 25 , 32 , 40 , 50 , 65 , 80 , 100 , 125 , 150 , 200 , 250 |
| Max. tlak | 16.00 bar |
Spolupracujeme